Services
联系方式Contact us

全国服务热线:15530796367
Q Q:583883685
邮 箱:1340821763@qq.com
联系人:张经理
网 址:kaimac.com
地 址:河北省沧州市泊头市
开发区
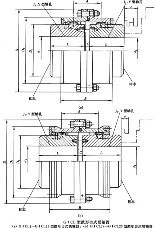
GIICL型鼓型齿式联轴器图纸
品 牌:金沙澳门唯一官网
GIICL型鼓形齿式联轴器JB/T8854.2-99产品简介 本产品适用于通过中间轴联接两水平同轴线传动轴系,具有一定补偿两轴相对偏移性能,传递公称扭距为355···...
订购热线:155-30796-367
GIICL型鼓形齿式联轴器JB/T8854.2-99产品简介 本产品适用于通过中间轴联接两水平同轴线传动轴系,具有一定补偿两轴相对偏移性能,传递公称扭距为355---125000N.m
GIICL型鼓形齿式联轴器JB/T8854.2-99具体型号
GⅡCL1、GⅡCL2、GⅡCL3、GⅡCL4、GⅡCL5、GⅡCL6、GⅡCL7、GⅡCL8、GⅡCL9、GⅡCL10、GⅡCL11、GⅡCL12、GⅡCL13、GⅡCL14、GⅡCL15、GⅡCL16、GⅡCL17、GⅡCL18、GⅡCL19、GⅡCL20、GⅡCL21、GⅡCL22、GⅡCL23、GⅡCL24、GⅡCL25
GⅡCL型鼓形齿式联轴器基本参数和主要尺寸(JB/T8854.2-99)/mm型号 | 公称转矩Tn /N·m | 许用转速[n] /r·min-1 | 轴孔直径 d1、d2 | 轴孔长度L | D | D1 | D2 | C | H | A | B | e | 润滑脂 用量/mL | 质量m/kg | 转动惯量I/ kg·m2 | |
Y | J1 | |||||||||||||||
GⅡCL1 | 400 | 4000 | 16、18、19 | 42 | - | 103 | 71 | 50 | 8 | 2 | 36 | 76 | 38 | 51 | 5.1 | 0.014 |
| 20、22、24 | 52 | 38 | 3 | 0.014 | ||||||||||||
| 25、28 | 62 | 44 | 3.1 | 0.014 | ||||||||||||
| 30、32、35 | 82 | 60 | 3.6 | 0.015 | ||||||||||||
GⅡCL2 | 710 | 4000 | 20、22、24 | 52 | 38 | 115 | 83 | 60 | 8 | 2 | 42 | 88 | 42 | 70 | 4.9 | 0.023 |
| 25、28 | 62 | 44 | 4.5 | 0.022 | ||||||||||||
| 30、32、35、38 | 82 | 60 | 5.1 | 0.024 | ||||||||||||
| 40、42、45 | 112 | 84 | 6.2 | 0.027 | ||||||||||||
GⅡCL3 | 1120 | 4000 | 22、24 | 52 | 38 | 127 | 95 | 75 | 8 | 2 | 44 | 90 | 42 | 68 | 7.5 | 0.042 |
| 25、28 | 62 | 44 | 7 | 0.040 | ||||||||||||
| 30、32、35、38 | 82 | 60 | 6.9 | 0.040 | ||||||||||||
| 40、42、45、48、50、55 | 112 | 84 | 8.6 | 0.045 | ||||||||||||
GⅡCL4 | 1800 | 4000 | 38 | 82 | 60 | 149 | 116 | 90 | 8 | 2 | 49 | 98 | 42 | 87 | 10.1 | 0.08 |
| 40、42、45、48、50、55、56 | 112 | 84 | 12.2 | 0.089 | ||||||||||||
| 60、63、65 | 142 | 107 | 14.5 | 0.098 | ||||||||||||
GⅡCL5 | 3150 | 4000 | 40、42、45、48、50、55、56 | 112 | 84 | 167 | 134 | 105 | 10 | 25 | 55 | 108 | 42 | 125 | 16.4 | 0.151 |
| 60、63、65、70、71、75 | 142 | 107 | 19.6 | 0.173 | ||||||||||||
GⅡCL6 | 5000 | 4000 | 45、48、50、55、56 | 112 | 84 | 187 | 153 | 125 | 10 | 2.5 | 56 | 110 | 42 | 148 | 22.1 | 0.265 |
| 60、63、65、70、71、75 | 142 | 107 | 26.5 | 0.30 | ||||||||||||
| 80、85、90 | 172 | 132 | 31.2 | 0.337 | ||||||||||||
GⅡCL7 | 7100 | 3750 | 50、55、56 | 112 | 84 | 204 | 170 | 140 | 10 | 3.5 | 60 | 118 | 42 | 175 | 27.6 | 0.405 |
| 60、63、65、70、71、75 | 142 | 107 | 33.1 | 0.46 | ||||||||||||
| 80、85、90、95 | 172 | 132 | 39.2 | 0.52 | ||||||||||||
| 100、(105) | 212 | 167 | 47.5 | 0.602 | ||||||||||||
GⅡCL8 | 10000 | 3300 | 55、56 | 112 | 84 | 230 | 186 | 155 | 12 | 3 | 67 | 142 | 47 | 268 | 35.5 | 0.668 |
| 60、63、65、70、71、75 | 142 | 107 | 42.3 | 0.75 | ||||||||||||
| 80、85、90、95 | 172 | 132 | 49.7 | 0.839 | ||||||||||||
| 100、110、(115) | 212 | 167 | 60.2 | 0.964 | ||||||||||||
GⅡCL9 | 16000 | 3000 | 60、63、65、70、71、75 | 142 | 107 | 256 | 212 | 180 | 12 | 3 | 69 | 146 | 47 | 310 | 55.6 | 1.264 |
| 80、85、90、95 | 172 | 132 | 65.6 | 1.425 | ||||||||||||
| 100、110、120、125 | 212 | 167 | 79.6 | 1.652 | ||||||||||||
| 130、(135) | 252 | 202 | 95.8 | 1.878 | ||||||||||||
GⅡCL10 | 22400 | 2650 | 65、70、71、75 | 142 | 107 | 287 | 239 | 200 | 14 | 3.5 | 78 | 164 | 47 | 472 | 72 | 2.05 |
| 80、85、90、95 | 172 | 132 | 84.4 | 2.3 | ||||||||||||
| 100、110、120、125 | 212 | 167 | 101 | 2.64 | ||||||||||||
| 130、140、150 | 252 | 202 | 119 | 2.98 | ||||||||||||
GⅡCL11 | 35500 | 2350 | 70、71、75 | 142 | 107 | 325 | 276 | 235 | 14 | 3.5 | 81 | 170 | 47 | 550 | 97 | 5.81 |
| 80、85、90、95 | 172 | 132 | 114 | 4.94 | ||||||||||||
| 100、110、120、125 | 212 | 167 | 138 | 4.94 | ||||||||||||
| 130、140、150 | 252 | 202 | 161 | 5.6 | ||||||||||||
| 160、170(175) | 302 | 242 | 189 | 6.35 | ||||||||||||
GⅡCL12 | 50000 | 2100 | 75 | 142 | 107 | 362 | 313 | 270 | 16 | 4 | 89 | 190 | 49 | 695 | 128 | 6.49 |
| 80、85、90、95 | 172 | 132 | 150 | 7.31 | ||||||||||||
| 100、110、120、125 | 212 | 167 | 205 | 8.45 | ||||||||||||
| 130、140、150 | 252 | 202 | 213 | 9.6 | ||||||||||||
| 160、170、180 | 302 | 242 | 248 | 10.91 | ||||||||||||
| 190、200 | 352 | 282 | 285 | 12.22 | ||||||||||||
GⅡCL13 | 71000 | 1850 | 150 | 252 | 202 | 412 | 350 | 300 | 18 | 4.5 | 98 | 208 | 49 | 1019 | 269 | 15.7 |
| 160、170、180、(185) | 302 | 242 | 315 | 17.7 | ||||||||||||
| 190、200、220(225 ) | 352 | 282 | 360 | 19.67 | ||||||||||||
GⅡCL14 | 112000 | 1650 | 170、180、(185) | 302 | 242 | 462 | 420 | 335 | 22 | 5.5 | 172 | 296 | 63 | 3900 | 421 | 32.1 |
| 190、200、220 | 352 | 282 | 476 | 35.2 | ||||||||||||
| 240、250 | 410 | 330 | 544 | 38.9 | ||||||||||||
GⅡCL15 | 180000 | 1500 | 190、200、220 | 352 | 282 | 512 | 470 | 380 | 22 | 5.5 | 182 | 316 | 63 | 3700 | 608 | 57.2 |
| 240、250、260 | 410 | 330 | 696 | 63.4 | ||||||||||||
| 280、(285) | 470 | 380 | 786 | 69.8 | ||||||||||||
GⅡCL16 | 25000 | 1300 | 220 | 352 | 282 | 580 | 522 | 430 | 28 | 7 | 209 | 354 | 67 | 4500 | 799 | 95.7 |
| 240、250、260 | 410 | 330 | 913 | 105.8 | ||||||||||||
| 280、300、320 | 470 | 380 | 1027 | 116.4 | ||||||||||||
GⅡCL17 | 355000 | 1200 | 250、260 | 410 | 330 | 644 | 582 | 490 | 28 | 7 | 198 | 364 | 67 | 4900 | 1176 | 172.3 |
| 280、(290)、300、320 | 470 | 380 | 1322 | 190.1 | ||||||||||||
| 340、360、(365) | 550 | 450 | 1532 | 214.9 | ||||||||||||
GⅡCL18 | 500000 | 1050 | 280、(290)、300、320 | 470 | 380 | 726 | 658 | 540 | 28 | 8 | 222 | 430 | 75 | 7000 | 1698 | 314.1 |
| 340、360、380 | 550 | 450 | 1948 | 351 | ||||||||||||
| 400 | 650 | 540 | 2278 | 398 | ||||||||||||
GⅡCL19 | 710000 | 950 | 300、320 | 470 | 380 | 818 | 748 | 630 | 32 | 8 | 232 | 440 | 75 | 8900 | 2249 | 547 |
| 340、(350)、360、380、(390) | 550 | 450 | 2591 | 615 | ||||||||||||
| 400、420、440、450、460 | 650 | 540 | 3026 | 702 | ||||||||||||
GⅡCL20 | 100000 | 800 | 360、380、(390) | 550 | 450 | 928 | 838 | 720 | 32 | 10.5 | 247 | 470 | 75 | 11000 | 3384 | 1047 |
| 400、420、440、450、460 | 650 | 540 | 3984 | 1196 | ||||||||||||
| 480、500 | ||||||||||||||||
| 530、(540) | 800 | 680 | 4430 | 1443 | ||||||||||||
GⅡCL21 | 1400000 | 750 | 400、420、440、450、460 | 650 | 540 | 1022 | 928 | 810 | 40 | 11.5 | 255 | 490 | 75 | 13000 | 4977 | 1875 |
| 480、500 | ||||||||||||||||
| 530、560、600 | 800 | 680 | 6152 | 2246 | ||||||||||||
GⅡCL22 | 1800000 | 650 | 450、460、480、500 | 650 | 540 | 1134 | 1036 | 915 | 40 | 13 | 262 | 510 | 75 | 16000 | 6318 | 3015 |
| 530、560、600、630 | 800 | 680 | 7738 | 3619 | ||||||||||||
| 670、(680) | 900 | 780 | ||||||||||||||
GⅡCL23 | 2500000 | 600 | 530、560、600、630 | 800 | 680 | 1282 | 1178 | 1035 | 50 | 14.5 | 299 | 580 | 80 | 28000 | 10013 | 6068 |
| 670、(700)、710、750、(770) | 900 | 780 | 11553 | 6900 | ||||||||||||
GⅡCL24 | 3550000 | 550 | 560、600、630 | 800 | 680 | 1428 | 1322 | 1175 | 50 | 16.5 | 317 | 610 | 80 | 33000 | 12915 | 9944 |
| 670、(700)、710、750 | 900 | 780 | 15015 | 11353 | ||||||||||||
| 800、850 | 1000 | 880 | 16615 | 12527 | ||||||||||||
GⅡCL25 | 500000 | 460 | 670、(700)、710、750 | 900 | 780 | 1644 | 1538 | 1390 | 50 | 19 | 325 | 620 | 80 | 43000 | 19837 | 20697 |
| 800、850 | 1000 | 880 | 22381 | 23346 | ||||||||||||
| 900、950 | - | 980 | 24765 | 25652 | ||||||||||||
| 1000、(1040) | - | 1100 | 27797 | 28793 | ||||||||||||
注:1.转动惯量与质量按J1型计算。
2.轴孔长度推荐J1型。
3.带括号的轴孔直径新设计时不应选用。
上一篇:GICLZ型鼓型齿式联轴器型号规格
下一篇:GIICLZ型鼓型齿式联轴器图纸







